Випрямляч діодний CARGO 132406
|
884 ₴
сегодня
|
- Производитель
- CARGO (Дания)
- Каталожный номер
- 132406
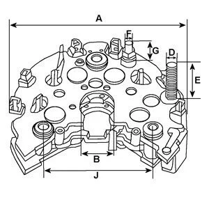
- Сила тока [A]
- 35
- Наружный диаметр [мм]
- 100.0
- Внутренний диаметр
- 52.50
- Товарная группа:
- - Электрика и Освещение Комплектующие генератора
